11月16日消息 苹果的人工智能Siri一直都被网友“亲切”的称呼为人工“智障”,在没有网络的情况下,Siri是无法工作的。这让许多苹果用户表示不满。现在,一项新专利显示,苹果似乎开始着手改善这一状况。
苹果最近提交的一项名为“离线个人助理”的专利显示,该公司正在考虑为Siri加入离线模式,即便在没有网络的情况下,Siri也可以进行本地化工作。
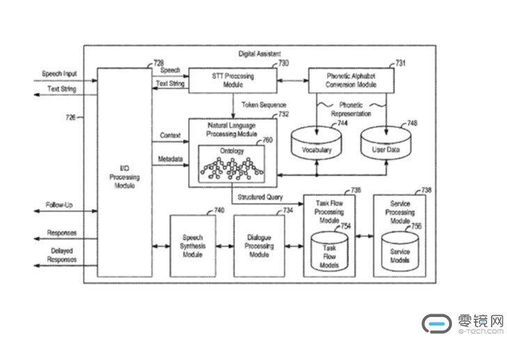
目前Siri只支持在线模式,当iPhone用户使用Siri时,信息请求将被发送到苹果的服务器,并将其转换为文本;云端服务器在收到用户的信息后,做出响应,然后发送到用户的iPhone上。
现阶段的iPhone及iPad等苹果设备是没有单独处理语音识别处理的模块的。从苹果的新专利来看,苹果可能会在后续的iOS设备上新增语音处理模块,可以直接在iPhone等设备上进行智能处理,而不是依赖于服务器。
需要注意的是,这项专利申请提交于2017年9月,直到现在才有USPTO正式公布。













