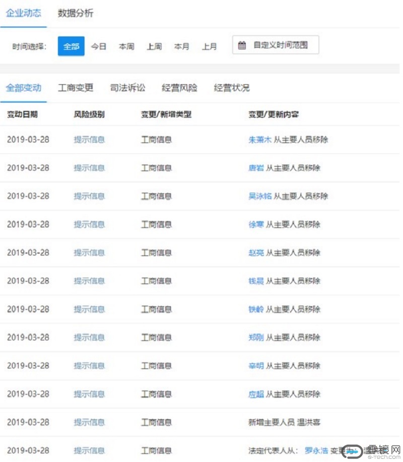
新闻 锤子软件也换人接手了,还剩锤子…… 作者 Hansen.Z - 2019年3月28日 2019年3月28日,企查查数据显示锤子软件(北京)有限公司发生工商变更,法定代表人从罗永浩变更为温洪喜。其余数十名包括朱萧木、唐岩等在内的数十名高管从中退出。 在罗永浩淡出锤子科技之后,锤子目前现在还剩什么呢?