- HTC:oculus独占正在“阻碍开发者”
HTC一直反对VR生态系统中的内容独占。全球VR内容副总裁Joel Breton对Gamespot说道,Oculus工作室游戏的内容独占正在阻碍开发者进行交流,因为在其他平台上阻止这些内容出现。他说,这些游戏可能并没有Oculus资金的支持,当他们不能开发与市场规模相一致的游戏时内容独占对于开发者是个难题,Oculus放更多资金比市场或者开发者能够收回的,因此工作室可能很难与未来的游戏适应。工作室挣扎,是因为他们不能在目前市场有所发展。而HTC方面则表示,自己并不将内容视为武器。正在使用内容帮助创建和维持VR生态系统。
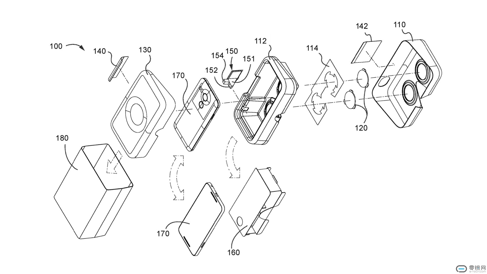
- 谷歌发布新专利:集成移动设备和VR头显

为了提高移动VR市场的占有率,谷歌法不可一个集成移动设备和VR头显的新专利。美国专利和商标局最近认可了该项专利。有人猜测该设备专为下一代Pixel智能手机而创造。然而这仅仅是一项谷歌不需要跟进的专利。它们能够选择创不创建让公众使用。该专利指出该设备能够使用沉重的如Cardboard那样的纸板材料,将大大降低成本和提高可用性。因此也可以被视为下一代的谷歌Cardboard。
- 英特尔ALLOY项目支持的独立头显售价接近1000美元

根据公司视觉计算组负责人Achin Bhowmik,英特尔Alloy项目的独立头显售价可能接近1000美元。他解释道,该头显的价格相当于典型的笔记本,粗略估算可能在599-899美元之间。当他视为进入VR的优惠价格,因为并不需要PC去运行。Alloy是一个无线VR解决方案,并把所有渲染、追踪、展示硬件包纳进头显本身之中。英特尔希望无线提供的自由、本身独立能让头显在发布时保持竞争力。开发套件将在年底发布。这也意味着消费者最早都要等到2018年才能看到产品。
- Airbnb首席执行官暗示或将在明年举行IPO

据CNBC报道,Airbnb首席执行官兼联合创始人布莱恩·切斯基(Brian Chesky)在周一的纽约经济俱乐部午餐会上讲话中暗示Airbnb或将在明年举行IPO。称对于Airbnb而言,准备公开上市的“两年过程”已完成过半。这可能暗示着公司将在2018年进行IPO。虽然切斯基表示耐心的投资者并没有催促公司上市的意思。
- 亚马逊的Prime Air无人机实物首次亮相

在近日举行的集科技、音乐和电影于一身的SXSW大会上,亚马逊展示了自己的Prime Air无人机,但这一次无人机并没有送任何的货物、商品。来自亚马逊的负责人介绍称,亚马逊正在展示的两架Prime Air无人机,可以让参观者首次近距离的观察,而且这也是公司想向人们展示的未来送货系统的样子。
在安保人员的监视下,参观者可以近距离的观看亚马逊展示的无人机。但令人遗憾的是,这一次无人机并没有展示送货。














