微软正站在增强现实革命的最前沿,但人们普遍在抱怨其头显HoloLens的实际覆盖视场过小(小于40度),让3000美元头显的市场营销策略存在误导性。
现在微软已经为这个问题提出了一个潜在的解决方案,但似乎不太可能会减低设备的成本。

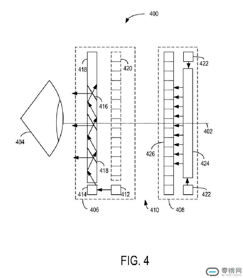
专利文件介绍道:
可用于近眼显示器/头显装置的显示技术包括基于波导、birdbath、光场和其它合适的显示配置。然而,每种类型的显示器可以提供不同优缺点。例如,基于波导和birdbath装置可提供高锐度和高对比度的高分辨率图像。但当叠加在真实世界对象上时,仅能提供微弱的或甚至没有深度提示,以及低闭塞效应的窄视场(通过透视显示器观察)。诸如点光模式显示器这样的光场显示器可在具有可察觉的、具有深度线索的宽视场下,以及封闭部分真实世界环境(通过透视显示器观察)的情况下提供图像。然而,这种光场显示器的分辨率、对比度和锐度可能过低,其图像质量相对于基于波导/birdbat配置要更低。
HoloLens使用的是波导显示器,可提供清晰、高分辨率但小视场的图像,而独角兽Magic Leap旨在使用轻量的技术,提供更大的视野,以及完全不透明的外部世界,但图像不够锐利,分辨率较低。

现在微软提出通过堆叠两种类型显示器来结合两种技术的优点。专利文件解释说,他们认识到上述显示配置的互补特征,并且提供结合两种类型显示配置的系统和方法,基于虚拟对象的特征选择性地通过其中一种或两种显示配置以呈现虚拟对象。例如,在具有两种类型显示配置的显示系统中,可经由具有宽视场的显示配置展示用户观看空间外围区域的虚拟对象。具体窄视场(高清晰度)的显示配置则呈现用户观看空间内的虚拟对象,对于外围区域通过宽视场显示配置产生的低分辨率/质量图像则处于可以接受的水平(例如,当用户不直接观看虚拟对象时)。下面将更详细地描述这种选择性呈现虚拟对象方法的其他特征。
这两个显示器还可以通过各种方法进行利用,例如仅在一个显示器上显示部分元素,或者使用光场显示器遮蔽背景的能力,然后再通过波导显示器添加细节。
这种组合可以把视场从40度提高到80-90度,并且还可以改善整体的图像质量,但也许会增加系统的复杂程度,并提高设备的成本。













