近日,VR音频创业公司Dysonics宣布获得A轮融资,由Intel Capital领投,Rawah Partners参投。但双方都没有对外透露具体的投资金额。
事实上,这条消息来自10月24日~10月26日在美国圣地亚哥举行的英特尔投资全球峰会。大会上,Intel Capital宣布投资12家科技创新公司,总额达3800万美元,涵盖物联网解决方案、人工智能以及虚拟现实等领域。具体来说,VR创新公司占据两个名额,一个就是Dysonics,另一个是为零售商提供VR展示的方案商InContext Solutions。
如果把Intel Capital投资看成VR风向标的话,那么VR音频这两年悄然快速的发展似乎佐证了英特尔精明的战略。
国内外获得资本青睐的VR音频创业团队
在VR音频这个领域有不少像Dysonics这样专注于VR音频的创业公司,比如3Dio、VisiSonics、Impulsonic、Two Big Ears、Thrive Audio等等。
VisiSonics:从马里兰大学(University of Maryland)计算机学院孵化 ,于2011年成立,由该校计算机科学教授 Ramani Duraiswami及其研究人员共8人组成。早前曾与Oculus就VR音频方面进行合作。截止目前,该团队推出VR视听全景采集设备RealSpace Panoramic Audiovisual Cameras、麦克风阵列VisiSonics Digital Array Microphones以及引擎RealSpace 3D Audio。
Impulsonic:成立于2011年,来自北卡罗来纳大学(University of North Carolina)的15名博士和研究人员组成,CEO Anish Chandak是该校计算机专业博士生。该公司主要针对VR游戏与应用的3D音频开发,其产品名为Phonon,去年获得美国国家科学基金的投资。

Two Big Ears宣布收购消息
Two Big Ears:今年5月被Facebook收购,具体交易金额没有披露。成立于2013 年,总部在英国爱丁堡,团队成员有 6 人,创始人是爱丁堡大学物理模拟声学毕业生Abesh Thakur。 在 2015 年,该公司推出3D 音效制作工具3Dception Spatial Workstation(现改名Facebook 360 Spatial Workstation)。在收购之前,该公司参与众多项目,比如Oculus Rift 独占游戏 《幸运的故事》、Valve 《DOTA2》、VR 主题公园 The Void的内容以及 Gear VR 短片《Battle for Avengers Tower》等。
Thrive Audio:去年4月被谷歌收购,同样的,具体交易金额没有披露。该公司同样由柏林大学圣三一学院(Trinity College Dublin)工程系孵化,专注于3D音频耳机设计。
如果要总结以上VR音频创业公司的特点,那么可能是:高校孵化、团队10人左右、产品多归属于工具类产品,覆盖音频采集、制作到回放。当我们反观国内,也会发现VR音频创业团队同样有不少,比如北京时代拓灵、北京塞宾科技、深圳森声科技、深圳东方酷音以及杭州米谟科技等。
谷歌Cardboard高管Nathan Martz曾表示,VR音频不容忽略。他说,很多人以为在开发VR产品和体验过程中,视频和视觉是最重要的因素,其实不然,声音也同样重要。在资深游戏开发者群体中,有一个行业经验——“声音让场景更加真实”。 这段话最简洁的总结可能是Jaunt的首席工程师Adam Somers说的:“(在 VR 这件事上面),听觉占了五成,视觉占剩下五成。”
但即使如此, VR音频团队的数量远远比不上VR头显的创业公司。作为VR发展的关键技术,VR音频是不是目前投资领域一块兵家必争之地?下面,零境网以英特尔重金投资的Dysonics为样本,分析VR音频的技术含量。
Dysonics:一家具有15年研究成果的创业公司
成立背景:
根据官网以及领英的资料,Dysonics成立于2012年,从美国加州大学戴维斯分校(University of California, Davis)创业孵化器ETTC(Engineering Translational Technology Center)孵化而成,愿景是彻底改变基于耳机的音频,让声音更为逼真,让人身临其境。
一开始,Dysonics的创始人是两位博士Ralph Algazi和Richard Duda,而且还是加州大学戴维斯分校的讲授和讲师。
“15年以来,我们的核心团队坚持致力于音频感知、空间声音采集以及再现的学术研究,最终获得不少专利技术”,Dysonics在官网上写着。
除了获得高校的技术研究成果,在成立这年,Dysonics还获得Rawah Partners 75万美元种子投资。值得一提的是,在A轮融资的时候,Rawah Partners也再次跟进。令人困惑的是,Rawah Partners是一家低调的投资机构,除了Dysonics这笔投资,很难找到它相关的资料。
从成立当初的背景来看,Dysonics和VisiSonics、Impulsonic、Thrive Audio等VR音频创业公司相似,都是从高校研究室孵化,并获得数十年的研究结果和相关技术专利。这并不难理解,毕竟VR音频是一项高精尖的技术,需要长时间的积累和沉淀。至于VR音频的技术难在哪里,接下来将会继续分享。

团队:
Dysonics的团队可以说比较小,但各种角色齐全,且经验老成。总体成员少于10人,核心成员则是6人:两位博士创始人、CTO Robert Dalton、执行总监Jim Olson、业务拓展副总裁Les Borsai以及市场营销总监Garrett McCullum。
从团队组成来看,两位博士创始人起指导顾问作用,以及提供数十年的专利技术和学术研发成果。两位博士创始人就是Dysonics一直号称的核心技术“Motion-Tracked Binaural (以下简称MTB)”的专利权人。
Ralph Algazi在音频信号和音频处理领域已经研究了40多年,是加州大学戴维斯分校的荣誉教授,以及该校电气工程和计算机科学系主任。而Richard Duda在听觉场景分析以及空间声音定位和合成方面有所研究,同时还是加州大学戴维斯分校的客座教授和研究员。
而CTO Robert Dalton是加州大学戴维斯分校2005年电子工程专业硕士毕业生。此后一直在音频领域从事相关工作,直到2012年加入Dysonics。
核心技术:
在了解Dysonics核心技术之前,我们先来看看VR音频技术。
在Oculus的开发技术文档中,他们用VR音频来概括VR对声音提出的新要求。虽然这份技术文档并没有对VR音频下一个定义,诸如存储传输格式是什么。但Oculus告诉我们,VR音频能让人们在耳机中听到来自三维空间的声音。换句话来说,VR音频希望还原现实中的声场。
这就意味着人们需要在一副耳机中获得现实声场,而且还要在头部转动以及身体位移的时候让用户辨别出声音相应的方位和距离。举一个例子。戴上头盔之后,你可以很清楚识别出来自不同方位的声音,还可以判断它们大致的距离。而当你后转的时候,原本在你面前的声音变成你身后的声音。当你直径向前走一步的时候,前面声音变大、后面声音变小,左右没有变化。当然,这个过程还包含相应的混响、声音反射/吸收等情况。
一言概之,耳机听到的就像现实一样。
基于耳机对现实声场进行还原这一课题,人们早有研究。(还有一种声场还原技术称之为环绕立体声surround audio,它是通过放置多个扬声器来还原声场,比如5.1声道的家庭音响系统。但考虑到VR头显以穿戴设备的形态出现,这里就不讨论这一技术。)
最早的相关研究可以追溯到1881年。从那时候开始,人头录音方式Binaural recording、录音制式Ambisonic以及HRTF函数逐渐成熟。简单来说,Binaural recording解决声音录制问题、HRTF函数解决效果生成问题,而Ambisonic则解决了录音制式和编解码算法问题。
但是这些技术无法解决VR提出的新要求:在头部转动以及身体位移的时候让用户辨别出声音相应的方位和距离。Binaural recording录音方式是制作一个人头模型,把话筒(拾音振膜)分别置于左/右人工耳道中模拟人耳听到声音的过程。但这种录音方式缺乏听者转动头部时发生的变化,
简单而言,传统的基于耳机的声场还原技术是静态的,而VR需要动态、空间内全方位的声场,而且还会根据人体移动、周围环境产生相应的变化。
正好,Dysonics核心技术所要实现的目标就是“puts you there”的动态音频,其核心技术名为MTB。

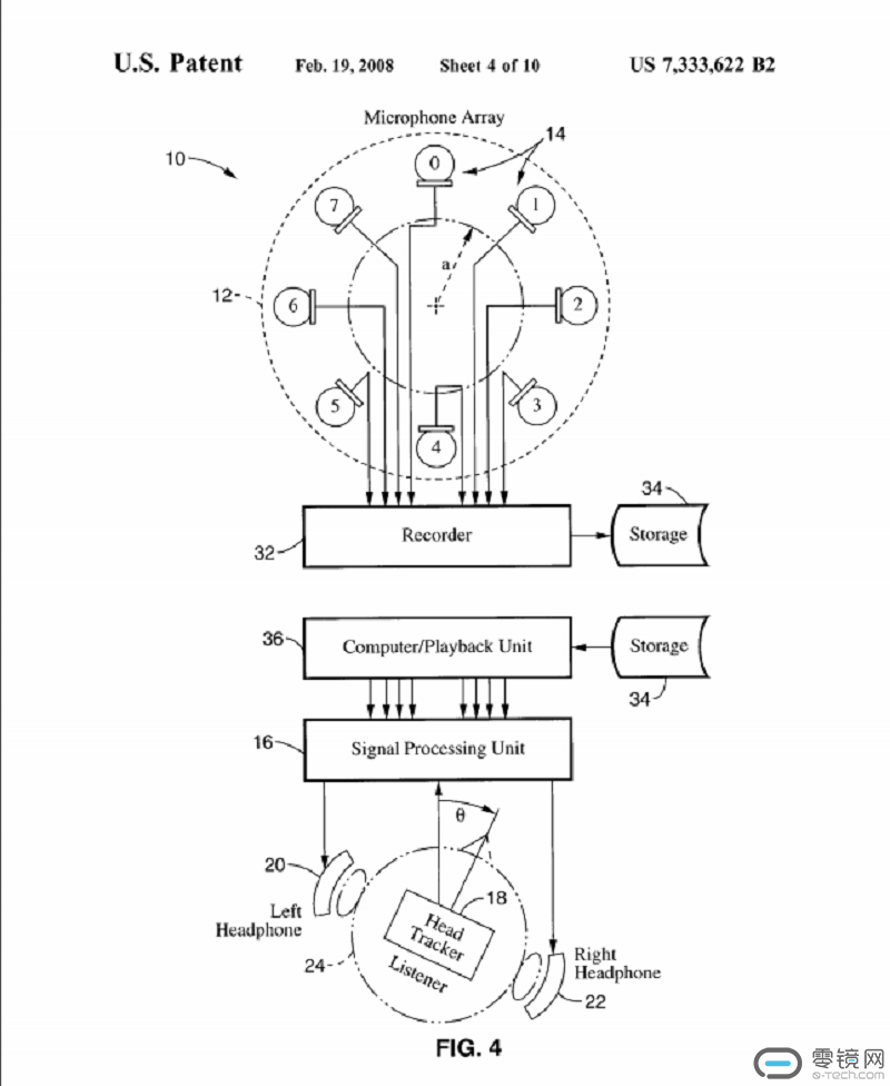
在专利书中,Dysonics对MTB的解释为:采集以及回放3D音频的新方法。首先,麦克风阵列收集声场,接着通过头部动作追踪器把头部动作数据同步到程序中,再经过特殊的信号处理程序让听者获得高度逼真的声场还原体验。此外,MTB还提供用于记录空间声音的通用格式。
根据这一专利,Dysonics推出了基于Binaural recording录音方式的麦克风阵列声音采集设备RondoMic,并把获得声音数据进行实时拼接,以获取空间声音。推出适配任何耳机的头部动作追踪器RondoMotion以及配套软件RAPPR,追踪器用来确认听者的双耳位置,同步相关的声音变化。而软件则可以对Spotify、iTunes、YouTube等平台上的音频进行调整输出,让用户获得“假”3D音频体验。具体来说,当你头部转动的时候,你听到的不再是好毫无变化的声音。
商业模式:
Dysonics在现阶段主要还是以研发为主。但从成立到现在,也有商业化尝试。当然,还会有一些B端合作。
在2012年与维珍美国合作给机舱内娱乐做了音频上的创新。

2013年4月,携带追踪器RondoMotion登录众筹,最终获得109名粉丝支持,以及募集60841美元。目前,追踪器RondoMotion售价59.9美元,RAPPR一个许可证需要4.99美元,三个需要9.99美元。
而最新推出的声音采集设备RondoMic采用租赁方式,但如果选择销售的话,产品的价格可能会在1万美元到2万美元之间。
写在最后
在外媒Medium有一篇很长的文章记录了VisiSonics公司的创业故事。在创建初期,VisiSonics并不是为了VR而来,那时候这个团队的创始人是为了让视觉受损的士兵能够在听觉上得到补偿,通过虚拟出来的声音辨别周围环境的声音以获得方向感和空间感以此弥补视觉上的弱势,于是打造了他们称之为的音频摄像头。
随着VR逐渐火爆,这家在硅谷默默无闻的小公司开始意识到他们所投身的技术最好的归宿是VR,当时他们也注意到同样在硅谷的Oculus。为了获得技术曝光机会,VisiSonics团队从不放弃任何一次展示机会,甚至穿着写着「如果你想了解真正的 3D 游戏音频的话请和我联系。」的T 恤逛活动到处勾搭。当然,最后上天不负有心人,VisiSonics团队与Oculus合作。
Dysonics与之相似,他们成立的愿景是颠覆耳机音频,让声音更为逼真,让人身临其境。但随着VR迎来发展,他们也意识到可以随着这股浪潮乘风破浪。但如果从VR音频的角度看,也正是VR才唤醒它的第二春。在1933 年,AT&T 贝尔实验室推出仿真人头Oscar。Oscar 的耳朵里装上了两个麦克风,坐在展示房间中,录取周围的声音。

1933年,AT&T实验室的人头录音Oscar
虽然当时已经有VR音频相关的软硬件技术出现,但在VR来临之前,环绕声系统的各种技术、产品和制作流程的成功盖过Binaural的风头,从而显得没有用武之地。所以,随着VR不断发展,VR音频的研究成果通过各种投融资消息被人们所获知。
所以,VR音频是不是投资热土?答案是肯定的。不过,VR音频的技术含金量可能在于算法,能不能把基于耳机的声音模拟到无法分辨,就像电影里面的特效,有五毛也有以假乱真。












