当三星、HTC等手机厂商一众的玩起了VR的时候,作为老对手的苹果表面上看似“岿然不动”,实则“暗流汹涌”。
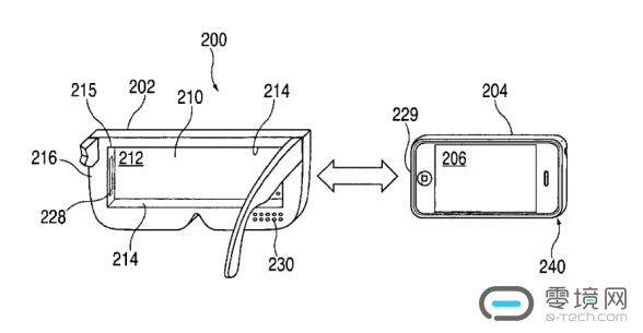
近日美国专利局网上曝出一条关于苹果VR的专利,据悉,这项专利是一款“携带式头部显示电子设备”。专利描述称,这款更类似眼镜的设备是“一款能够物理上放入手机的框架,并将手机屏幕放置于用户眼前;其中在用户双眼和手机屏幕之间存在着光学组件,用于接收手机屏幕的图像”

专利解释太复杂,其实技术一个类似三星Gear VR的头显盒子,它需要和iphone搭配使用,只是它还拥有内置的耳机、苹果的Lightning接口以及定制镜头。从专利上来看,其超薄的镜框完爆市面上其他VR头显设备,但是开放式的设计怎么才能杜绝外界光线来营造沉浸感?这果然很苹果。
虽然说苹果要做VR的消息让人感到兴奋,但这已经不是苹果第一次曝出VR相关专利了,目前美国专利局已经展示过苹果在这一领域七个专利了。本次的这项专利前身实际上在2008年9月就已经提交,也就是说苹果至少已经“偷偷摸摸”研究VR头显已达8年之久!估计苹果是在“憋大招”,只带时机成熟时,其他竞争对手就得小心了。
iphone7就要在9月7日上市了,更多与苹果VR设备的消息也许会公之于众。当苹果真的推出VR设备那一天,估计果粉们又得“高潮”了。![]()










