传闻中的AR眼镜对于苹果公司的未来有多重要呢?根据前华尔街分析师Gene Munster的说法,苹果AR眼镜将比iPhone还要重要。Munster预测到2019年iPhone销量将达到顶峰,而苹果眼镜将在2020年发布。
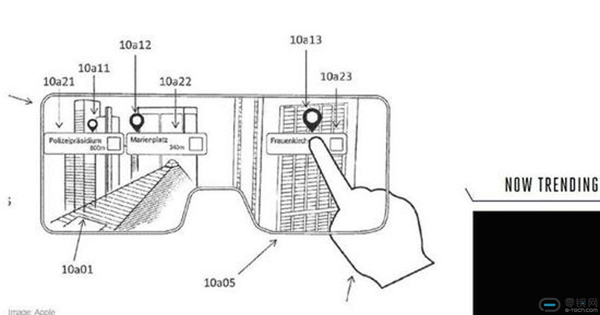
苹果公司提交的一项专利申请已经曝光,它显示了眼镜的AR功能如何显示一些建筑物的名称。苹果公司几年前收购了Metaio公司,该公司为科技巨头提供可穿戴产品的增强现实UI解决方案,今天提到的专利申请是基于Metaio于2013年提交的专利。
专利显示,要想使用眼镜进行导航,可以通过眼镜的摄像头定位手指,将手指当做“鼠标”使用,而不能把手指放到镜片上进行触摸,这看起来似乎有些麻烦,但毕竟离该产品的问世还有3年时间,而且这仅仅是一个专利而已,因此很多东西都可能发生改变。
值得一提的是,苹果早些时候在iOS11中推出了ARKit,此前已经有开发者在iPhone中实现AR导航,苹果的AR眼镜看起来就像是把iPhone变成了眼镜放在眼前,其可能性还是比较大的。













